Product Summary
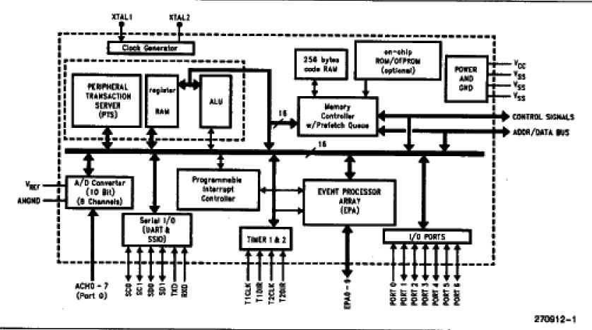
The N87C196KC is a commercial/express CHMOS microcontroller. The N87C196KC is composed of the high-speed (16MHz) core as well as the following peripherals: up to 16 Kbytes of on-chip EPROM, up to 512 bytes of register RAM 256 bytes of Code RAM, an eight-channel 10-bit analog to digital converter and so on.
Parametrics
N87C196KC absolute maximum ratings: (1)Ambient Temperature Under Bias: -55℃ to +125℃; (2)Storage Temperature: -60℃ to +150℃; (3)Voltage on Any Pin to VSS except EA and VPP: -0.5V to +7.0V; (4) Voltage from EA or VPP to VSS: -0.5V to 13.0V; (5) Power Dissipation: 1.0W.
Features
N87C196KC features: (1)High Performance CHMOS 16-bit CPU; (2)16 MHz Operating Frequency; (3)Up to 488 Bytes of On-chip Register RAM; (4)256Bytes of Additional RAM (Code or Data RAM); (5)Register-Register Architecture; (6)8 Channel/10-Bit A/D with Sample/Hold; (7)37 Prioritized Interrupt Sources; (8)Up to Seven 8-bit I/O ports; (9)Watchdog Timer; (10)10 High-Speed Capture/Compare (EPA); (11)Quadrature Counting Inputs; (12)Flexible 8-/16-Bit External Bus; (13)1.75μS 16 x 16 Multiply; (14)3μs 32/16 Divide; (15)68-Pin and 52-Pin PLCC Packages.
Diagrams

| Image | Part No | Mfg | Description | ![]() |
Pricing (USD) |
Quantity | ||||
|---|---|---|---|---|---|---|---|---|---|---|
![]() |
![]() N87C196KC20 |
![]() |
![]() IC MCU 16BIT 5V 16K OTP 68PLCC |
![]() Data Sheet |
![]() Negotiable |
|
||||
| Image | Part No | Mfg | Description | ![]() |
Pricing (USD) |
Quantity | ||||
![]() |
![]() N87C196KB16 |
![]() |
![]() IC MCU 16-BIT 5V 8K OTP 68-PLCC |
![]() Data Sheet |
![]() Negotiable |
|
||||
![]() |
![]() N87C196KC20 |
![]() |
![]() IC MCU 16BIT 5V 16K OTP 68PLCC |
![]() Data Sheet |
![]() Negotiable |
|
||||
![]() |
![]() N87C196KD |
![]() |
![]() IC MCU 16-BIT 5V 32K OTP 68-PLCC |
![]() Data Sheet |
![]() Negotiable |
|
||||
![]() |
![]() N87C196KD20 |
![]() |
![]() IC MCU 16-BIT 5V 32K OTP 68-PLCC |
![]() Data Sheet |
![]() Negotiable |
|
||||
![]() |
![]() N87C196MC |
![]() |
![]() IC MCU 16BIT 5V 16K OTP 84-PLCC |
![]() Data Sheet |
![]() Negotiable |
|
||||
![]() |
![]() N87C196MD |
![]() |
![]() IC MCU 16-BIT 5V 16K OTP 84-PLCC |
![]() Data Sheet |
![]() Negotiable |
|
||||
(Hong Kong)









