Product Summary
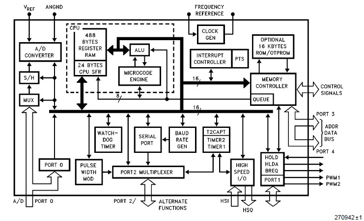
The AN87C196KC is a 16-bit microcontroller. It is a high performance member of the MCS 96 microcontroller family. The AN87C196KC is an enhanced 80C196KB device with 488 bytes RAM, 16 and 20 MHz operation and an optional 16 Kbytes of ROM/OTPR OM. Four highspeed capture inputs are provided to record times when events occur. Six high-speed outputs are available for pulse or waveform generation. The AN87C196KC can also generate four software timers or start an A/D conversion. Events can be based on the timer or up/down counter.
Parametrics
AN87C196KC absolute maximum ratings: (1)Ambient temperature under bias: -55 to +125 °C; (2)Storage temperature: -65 to +150 °C; (3)Voltage On Any pin to VSS: -0.5 V to +7.0 V; (4)Voltage from EA or VPP to VSS or angnd: +13.00 V; (5)Power dissipation: 1.5 W.
Features
AN87C196KC features: (1)16 and 20 MHz available; (2)488 byte register RAM; (3)Register-to-register architecture; (4)28 Interrupt sources/16 vectors; (5)Peripheral transaction server; (6)1.4 ms 16 x 16 multiply (20 MHz); (7)2.4 ms 32/16 divide (20 MHz); (8)Powerdown and idle modes; (9)Five 8-bit I/O ports; (10)16-bit watchdog timer; (11)Extended temperature available; (12)Dynamically configurable 8-bit or 16-bit buswidth; (13)Full duplex serial port; (14)High speed I/O subsystem; (15)16-bit timer; (16)16-bit up/down counter with capture; (17)3 pulse-width-modulated outputs; (18)Four 16-bit software timers; (19)8- or 10-bit a/d converter with sample/hold.
Diagrams
| Image | Part No | Mfg | Description | ![]() |
Pricing (USD) |
Quantity | ||||
|---|---|---|---|---|---|---|---|---|---|---|
![]() |
![]() AN87C196KC16F8 |
![]() |
![]() IC MCU 16-BIT 5V 16K OTP 68-PLCC |
![]() Data Sheet |
![]() Negotiable |
|
||||
| Image | Part No | Mfg | Description | ![]() |
Pricing (USD) |
Quantity | ||||
![]() |
![]() AN8725FH |
![]() Other |
![]() |
![]() Data Sheet |
![]() Negotiable |
|
||||
![]() |
![]() AN8730SB |
![]() Other |
![]() |
![]() Data Sheet |
![]() Negotiable |
|
||||
![]() |
![]() AN8735NSB |
![]() Other |
![]() |
![]() Data Sheet |
![]() Negotiable |
|
||||
![]() |
![]() AN8737SB |
![]() Other |
![]() |
![]() Data Sheet |
![]() Negotiable |
|
||||
![]() |
![]() AN8746SA |
![]() Other |
![]() |
![]() Data Sheet |
![]() Negotiable |
|
||||
![]() |
![]() AN8771NFH |
![]() Other |
![]() |
![]() Data Sheet |
![]() Negotiable |
|
||||
(Hong Kong)









