Product Summary
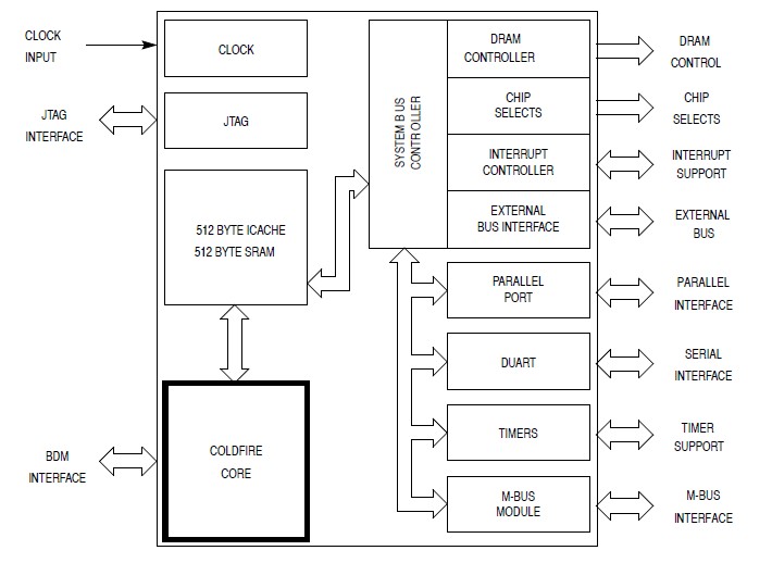
The MCF5206FT33A is an integrated microprocessor. The MCF5206FT33A combines a ColdFire processor core with several peripheral functions such as a DRAM controller, timers, general-purpose I/O and serial interfaces, debug module, and system integration. Designed for embedded control applications, the ColdFire core delivers enhanced performance while maintaining low system costs. To speed program execution, the on-chip instruction cache and SRAM provide one-cycle access to critical code and data. The MCF5206FT33A greatly reduces the time required for system design and implementation by packaging common system functions onchip and providing glueless interfaces to 8-, 16-, and 32-bit DRAM, SRAM, ROM, and I/O devices.
Parametrics
MCF5206FT33A absolute maximum ratings: (1)Supply voltage VDD: -0.3 to +7.0 V; (2)Input voltage Vin: -0.5to V DD + 0.5V V; (3)Storage temperature range Tstg: -55 to 150 °C.
Features
MCF5206FT33A features: (1)ColdFire Processor Core: Variable-length RISC; 32-bit internal address bus with 28 bit external bus; Chip Select and DRAM; internal 32-bit decoding; 32-bit data bus; 16 user-visible 32-bit wide registers; Supervisor / User modes for system protectio; Vector base register to relocate exception-vector table; Optimized for high-level language constructs; 17 MIPS at 33 MHz; (2)512 Byte Direct-mapped instruction cache; (3)512 Byte on-chip SRAM: Provides one-cycle access to critical code and data; (4)DRAM controller: Programmable refresh timer provides CAS-before-RAS refresh; Support for 2 separate memory banks; Support for page-mode DRAMs and extended-data-out (EDO)DRAMs; Allows external bus master access; (5)Dual universal synchronous/asynchronous receiver/transmitter (DUART): Full duplex operation; Baud-rate generator; Modem control signals available (CTS, RTS); Processor-interrupt capability.
Diagrams

| Image | Part No | Mfg | Description | ![]() |
Pricing (USD) |
Quantity | ||||||||||||
|---|---|---|---|---|---|---|---|---|---|---|---|---|---|---|---|---|---|---|
![]() |
![]() MCF5206FT33A |
![]() Freescale Semiconductor |
![]() Microprocessors (MPU) 33MHz 17MIPS |
![]() Data Sheet |
![]() Negotiable |
|
||||||||||||
| Image | Part No | Mfg | Description | ![]() |
Pricing (USD) |
Quantity | ||||||||||||
![]() |
![]() MCF500VKIT5 |
![]() Cornell Dubilier |
![]() Capacitor Kits MICA CHIP KIT |
![]() Data Sheet |
![]()
|
|
||||||||||||
![]() |
![]() MCF50SJR-100K |
![]() |
![]() RES MELF CARB 100K OHM 1/2W 5% |
![]() Data Sheet |
![]() Negotiable |
|
||||||||||||
![]() |
![]() MCF50SJR-10K |
![]() |
![]() RES MELF CARB 10K OHM 1/2W 5% |
![]() Data Sheet |
![]() Negotiable |
|
||||||||||||
![]() |
![]() MCF50SJR-1K |
![]() Yageo |
![]() Carbon Film Resistors - SMD 1K OHM 1/2W 5% |
![]() Data Sheet |
![]()
|
|
||||||||||||
![]() |
![]() MCF50SJR-47R |
![]() Yageo |
![]() Carbon Film Resistors - SMD 47 OHM 1/2W 5% |
![]() Data Sheet |
![]()
|
|
||||||||||||
![]() |
![]() MCF51AC128ACFUE |
![]() Freescale Semiconductor |
![]() 32-bit Microcontrollers (MCU) 128K FLASH, 32K RAM CAN |
![]() Data Sheet |
![]()
|
|
||||||||||||
(Hong Kong)










