Product Summary
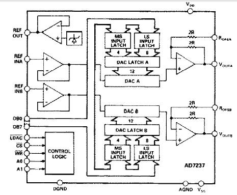
The AD7247SQ/883 is a 12-Bit D/A Converter. Improvements include operation from 12 V to 15 V supplies, faster interface times and better reference variations with VDD. Additional features include faster settling times. The AD7247SQ/883 is a complete, dual, 12-bit, voltage output digital-to-analog converter with output amplifiers and Zener voltage reference on a monolithic CMOS chip. No external user trims are required to achieve full specified performance.
Parametrics
AD7247SQ/883 absolute maximum ratings: (1)VDD to AGND, DGND: -0.3 V to +17 V; (2)VDD to VSS: -0.3 V to +34 V; (3)AGND to DGND: -0.3 V, VDD +0.3 V; (4)VOUTA, VOUTB to AGND (GND): VSS -0.3 V to VDD +0.3 V; (5)REF OUT to AGND (GND): 0 V to VDD; (6)REF IN to AGND (GND): -0.3 V to VDD +0.3 V; (7)Digital Inputs to DGND (GND): -0.3 V to VDD +0.3 V; (8)Operating Temperature Range, Industrial (A, B Versions): -40℃ to +85℃; Extended (T Version): -55℃ to +125℃; (9)Storage Temperature Range: -65℃ to +150℃; (10)Lead Temperature (Soldering, 10 secs): +300℃; (11)Power Dissipation (Any Package) to +75℃: 1000 mW; (12)Derates above +75℃ by: 10 mW/℃.
Features
AD7247SQ/883 features: (1)Complete Dual 12-Bit DAC Comprising: Two 12-Bit CMOS DACs; On-Chip Voltage Reference; Output Amplifiers; Reference Buffer Amplifiers; (2)Improved AD7237/AD7247: 12 V to 15 V Operation; (3)Faster Interface –30 ns typ Data Setup Time; (4)Parallel Loading Structure: AD7247A; (5)(8+4) Loading Structure: AD7237A; (6)Single or Dual Supply Operation; (7)Low Power—165 mW typ in Single Supply.
Diagrams

![]() |
![]() AD72 |
![]() Other |
![]() |
![]() Data Sheet |
![]() Negotiable |
|
||||||
![]() |
![]() AD720 |
![]() Other |
![]() |
![]() Data Sheet |
![]() Negotiable |
|
||||||
![]() |
![]() AD720-00 |
![]() NVE Corp/Sensor Products |
![]() SENSOR MAG SW 28G STANDRD 8TSSOP |
![]() Data Sheet |
![]()
|
|
||||||
![]() |
![]() AD720-02 |
![]() NVE Corp/Sensor Products |
![]() SENSOR MAG SW 28G STANDARD 8SOIC |
![]() Data Sheet |
![]()
|
|
||||||
![]() |
![]() AD721 |
![]() Other |
![]() |
![]() Data Sheet |
![]() Negotiable |
|
||||||
![]() |
![]() AD7216N2L |
![]() Emerson / Astec Power |
![]() Plug-In AC Adapters 16v output 72W 2 Pin AC input |
![]() Data Sheet |
![]() Negotiable |
|
||||||
(Hong Kong)










