Product Summary
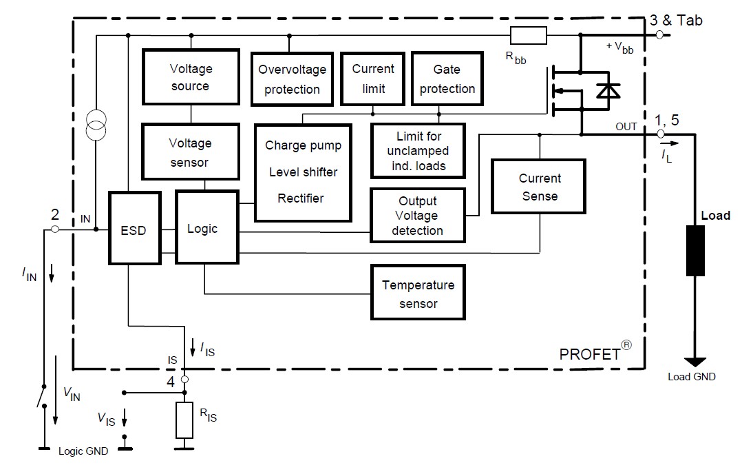
The BTS443P is an N channel vertical power FET with charge pump, current controlled input and diagnostic feedback with load current sense. It is integrated in Smart SIPMOS chip on chip technology. The BTS443P is providing embedded protective functions of the BTS443P. Applications of the BTS443P are: Power switch with current sense diagnostic feedback for 12V and 24 V DC grounded loads, All types of resistive, capacitive and inductive loads (no PWM with inductive loads), Replaces electromechanical relays, fuses and discrete circuits.
Parametrics
BTS443P maximum ratings: (1)Supply voltage: Vbb 36 V; (2)Supply voltage for full short circuit protection: Tj=-40 to 150 ℃Vbb: 24 V; (3)Load dump protection VLoadDump = UA + Vs, UA = 13.5 V RI= 2 Ω, RL= 2.7 Ω, td= 200 ms, IN= low or high; (4)VLoad dump: 60 V; (5)Load current IL: self-limited A ; (6)Operating temperature range Tj: -40 to +150 ℃; (7)Storage temperature range Tstg: -55 to +150 ℃; (8)Power dissipation (DC) TC ≤ 25℃ Ptot 42 W; (9)Inductive load switch-off energy dissipation.
Features
BTS443P features: (1)Short circuit protection; (2)Current limitation; (3)Overload protection; (4)Thermal shutdown; (5)Overvoltage protection (including load dump); (6)Loss of ground protection; (7)Loss of Vbb protection (with external diode for charged inductive loads); (8)Very low standby current; (9)Fast demagnetisation of inductive loads; (10)Electrostatic discharge (ESD) protection; (11)Optimized static electromagnetic compatibility (EMC).
Diagrams

| Image | Part No | Mfg | Description | ![]() |
Pricing (USD) |
Quantity | ||||||||||||||
|---|---|---|---|---|---|---|---|---|---|---|---|---|---|---|---|---|---|---|---|---|
![]() |
![]() BTS443P |
![]() Infineon Technologies |
![]() Power Switch ICs - Power Distribution Smart High Side 1 Ch 36V 42W |
![]() Data Sheet |
![]()
|
|
||||||||||||||
| Image | Part No | Mfg | Description | ![]() |
Pricing (USD) |
Quantity | ||||||||||||||
![]() |
![]() BTS409L1 |
![]() |
![]() SWITCH SMART HIGH SIDE TO-220 |
![]() Data Sheet |
![]() Negotiable |
|
||||||||||||||
![]() |
![]() BTS409L1 E3043 |
![]() |
![]() IC HIGH SIDE PWR SWITCH TO220-5 |
![]() Data Sheet |
![]() Negotiable |
|
||||||||||||||
![]() |
![]() BTS409L1 E3062A |
![]() Infineon Technologies |
![]() Power Switch ICs - Power Distribution PROFET SMART HI SIDE PWR SW |
![]() Data Sheet |
![]()
|
|
||||||||||||||
![]() |
![]() BTS409L1-E3062A |
![]() |
![]() SMART HIGHSIDE SWITCH TO-220AB/5 |
![]() Data Sheet |
![]() Negotiable |
|
||||||||||||||
![]() |
![]() BTS410D2 |
![]() Other |
![]() |
![]() Data Sheet |
![]() Negotiable |
|
||||||||||||||
![]() BTS410E2 |
![]() Infineon Technologies |
![]() Power Switch ICs - Power Distribution PROFET SMART HI SIDE PWR SW |
![]() Data Sheet |
![]()
|
|
|||||||||||||||
(Hong Kong)












