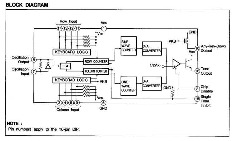
Product Summary
The LR4089B is a monolithic tone dialer LSI that uses an inexpensive crystal reference to provide eight audio sunusoidal frequencies. Dual-tone multi-freency signals are obtained by mixing these frequencies.
Parametrics
LR4089B absolute maximum ratings: (1)supply voltage, VDD: 6.2V; (2)operating temperature, Topr: -30 to 60℃; (3)storage temperature, Tstg: -55 to 150℃; (4)power dissipation, PD: 500mW.
Features
LR4089B features: (1)nuses either a standard 2-of-8 matrix keyboard or a single contact keyboard; (2)uses a 3.579545MHz color-burst crystal oscillator as a frequency reference; (3)direct telephone-line operation; (4)standard dual-tone-multi-frequency telephone dialing; (5)generates signals tones; (6)on-chip regulation of dual and single tone amplitudes.
Diagrams

![]() |
![]() LR401 |
![]() Other |
![]() |
![]() Data Sheet |
![]() Negotiable |
|
||||
![]() |
![]() LR4087B |
![]() Other |
![]() |
![]() Data Sheet |
![]() Negotiable |
|
||||
(Hong Kong)








