Product Summary
The RC28F128J3D75 is an Embedded Flash Memory.
Parametrics
RC28F128J3D75 absolute maximum ratings: (1)Temperature under Bias Expanded (TA, Ambient) : -40 to +85 ℃; (2)Storage Temperature : -65 to +125 ℃; (3)VCC Voltage : -2.0 to +5.6 V; (4)VCCQ : -2.0 to +5.6 V; (5)Voltage on any input/output signal (except VCC, VCCQ) : -2.0 to VCCQ (max) + 2.0 V; (6)ISH Output Short Circuit Current : 100 mA.
Features
RC28F128J3D75 features: (1)Architecture High-density symmetrical 128-Kbyte blocks; (2)256 Mbit (256 blocks); (3)128 Mbit (128 blocks); (4)64 Mbit (64 blocks); (5)32 Mbit (32 blocks); (6)Performance 75 ns Initial Access Speed (128/64/32-Mbit densities); (7)95 ns Initial Access Speed (256 Mbit only); (8)25 ns 8-word and 4-word Asynchronous page-mode reads; (9)32-Byte Write buffer; (10)4 μs per Byte Effective programming time; (11)Packaging 56-Lead TSOP package (32, 64, 128 Mbit only); (12)64-Ball Numonyx Easy BGA package (32 42, 128 and 256 Mbit); (13)Security Enhanced security options for code protection; (14)128-bit Protection Register; (15)64-bit Unique device identifier; (16)64-bit User-programmable OTP cells; (17)Absolute protection with VPEN = GND; (18)Individual block locking; (19)Block erase/program lockout during power; (32)transitions.
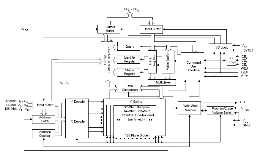
Diagrams
| Image | Part No | Mfg | Description | ![]() |
Pricing (USD) |
Quantity | ||||
|---|---|---|---|---|---|---|---|---|---|---|
![]() |
![]() RC28F128J3D75A |
![]() |
![]() IC FLASH 128MBIT 75NS 64EZBGA |
![]() Data Sheet |
![]() Negotiable |
|
||||
![]() |
![]() RC28F128J3D75B |
![]() |
![]() IC FLASH 128MBIT 75NS 64EZBGA |
![]() Data Sheet |
![]() Negotiable |
|
||||
![]() |
![]() RC28F128J3D75D |
![]() |
![]() IC FLASH 128MBIT 75NS 64EZBGA |
![]() Data Sheet |
![]() Negotiable |
|
||||
(Hong Kong)









