Product Summary
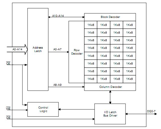
The FM1808-70-SG is a 256-kilobit nonvolatile memory employing an advanced ferroelectric process. A ferroelectric random access memory or FRAM is nonvolatile but operates in other respects as a RAM. The FM1808-70-SG provides data retention for 10 years while eliminating the reliability concerns, functional disadvantages and system design complexities of battery-backed SRAM. It’s fast write and high write endurance makes the FM1808-70-SG superior to other types of nonvolatile memory.
Parametrics
FM1808-70-SG absolute maximum ratings: (1)Ambient storage or operating temperature:-40℃ to + 85℃; (2)Voltage on any pin with respect to ground:-1.0V to +7.0V ; (3)Lead temperature (Soldering, 10 seconds):300℃.
Features
FM1808-70-SG features: (1)Organized as 32,768 x 8 bits; (2)High endurance 10 Billion (1010) read/writes; (3)10 year data retention at 85℃; (4)NoDelay write; (5)Advanced high-reliability ferroelectric process; (6)No battery concerns; (7)Monolithic reliability; (8)True surface mount solution, no rework steps; (9)Superior for moisture, shock, and vibration; (10)Resistant to negative voltage undershoots; (11)JEDEC 32Kx8 SRAM & EEPROM pinout; (12)70 ns access time; (13)130 ns cycle time; (14)Equal access & cycle time for reads and writes; (15)25 mA active current; (16)20 mA standby current.
Diagrams

| Image | Part No | Mfg | Description | ![]() |
Pricing (USD) |
Quantity | ||||
|---|---|---|---|---|---|---|---|---|---|---|
![]() |
![]() FM1808-70-SG |
![]() Ramtron |
![]() F-RAM 256K (32Kx8) 70ns 5V |
![]() Data Sheet |
![]() Negotiable |
|
||||
![]() |
![]() FM1808-70-SGTR |
![]() Ramtron |
![]() F-RAM 256K (32Kx8) 70ns 5V |
![]() Data Sheet |
![]() Negotiable |
|
||||
(Hong Kong)









