Product Summary
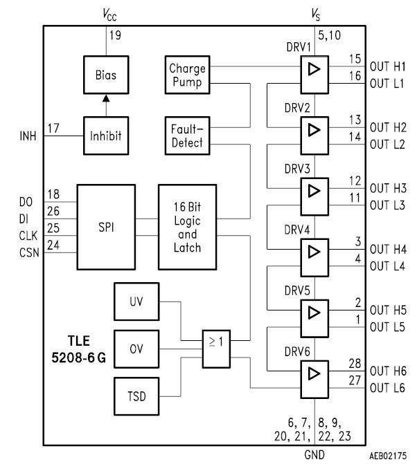
The TLE6208-6G is a fully protected Hex-Half-Bridge-Driver designed specifically for automotive and industrial motion control applications. Its package is SOP28.
Parametrics
Absolute maximum ratings: (1)Supply voltage, VS: – 0.3 to 40 V; (2)Supply voltage, VS: – 1V min when t < 0.5 s; IS > – 2 A; (3)Logic supply voltage, VCC: – 0.3 5.5 V 0 V < VS < 40 V; (4)Logic input voltages (DI, CLK, CSN, INH), VI: – 0.3 to 5.5 V when 0 V < VS < 40 V, 0 V < VCC < 5.5 V; (5)Logic output voltage (DO), VDO: – 0.3 to VCC V when 0 V < VS < 40 V, 0 V < VCC < 5.5 V; (6)Junction temperature, Tj: – 40 to 150℃; (7)Storage temperature, Tstg: – 50 to 150℃.
Features
Features: (1)Six High-Side and six Low-Side-Drivers; (2)Free configurable as switch, halfbridge or H-bridge; (3)Optimized for DC motor management applications; (4)0.6 A continuous (1 A peak) current per switch; (5)Outputs fully short circuit protected with diagnosis; (6)Overtemperature-Protection with hysteresis and diagnosis; (7)Temperature prewarning; (8)Standard SPI-Interface; (9)in stand-by (Inhibit) mode; (10)Over- and Undervoltage-Lockout; (11)CMOS/TTL compatible inputs with hysteresis; (12)Internal clamp diodes; (13)Enhanced power P-DSO-Package.
Diagrams

| Image | Part No | Mfg | Description | ![]() |
Pricing (USD) |
Quantity | ||||||||||
|---|---|---|---|---|---|---|---|---|---|---|---|---|---|---|---|---|
![]() |
![]() TLE6208-6G |
![]() Infineon Technologies |
![]() Motor / Motion / Ignition Controllers & Drivers Six-fold Half-Bridge Driver |
![]() Data Sheet |
![]()
|
|
||||||||||
| Image | Part No | Mfg | Description | ![]() |
Pricing (USD) |
Quantity | ||||||||||
![]() |
![]() TLE6208-3G |
![]() Infineon Technologies |
![]() Motor / Motion / Ignition Controllers & Drivers Triple-Half-Bridge |
![]() Data Sheet |
![]()
|
|
||||||||||
![]() |
![]() TLE6208-6G |
![]() Infineon Technologies |
![]() Motor / Motion / Ignition Controllers & Drivers Six-fold Half-Bridge Driver |
![]() Data Sheet |
![]()
|
|
||||||||||
![]() |
![]() TLE6209 |
![]() Other |
![]() |
![]() Data Sheet |
![]() Negotiable |
|
||||||||||
![]() |
![]() TLE6209R |
![]() Infineon Technologies |
![]() Motor / Motion / Ignition Controllers & Drivers 7A H-Bridge 150mA DC-MOTORAPPS |
![]() Data Sheet |
![]() Negotiable |
|
||||||||||
![]() |
![]() TLE6210 |
![]() Other |
![]() |
![]() Data Sheet |
![]() Negotiable |
|
||||||||||
![]() |
![]() TLE6211 |
![]() Other |
![]() |
![]() Data Sheet |
![]() Negotiable |
|
||||||||||
(Hong Kong)










