Product Summary
The mig20j901h is an integrated gtr module. It is deal for: (1)Inverter air conditioners; (2)PWM carrier frequency 3 kHz.
Parametrics
mig20j901h absolute maximum ratings: (1)Supply Voltage VCC P-N: 450 V; (2)Supply Voltage (Surge)VCC (surge)P-N: 500 V; (3)Collector Emitter Voltage VCES: 600 V; (4)Collector Current IC Tc - 25°C: 20 A; (5)Collector Current (Peak) ICP Tc - 25°C: 40 A; (6)Collector Power Dissipation PC Tc - 25°C: 50 W; (7)Junction Temperature Tj: 150 °C.
Features
mig20j901h features: (1)Maximum Rating VCES 600 V, IC 20 A; (2)High voltage IC × 3 + low voltage IC × 1; (3)5-V system CMOS/correspond to TTL; (4)Single power supply driving bootstrap circuit; (5)Over current protection: only low-side arm; (6)Short circuit protection: high and low-side arms; (7)RTC: high and low-side arms; (8)Over temperature protection: only low-side arm; (9)Power supply under voltage protection: high and low-side arms; (10)Fault signal output: In case of abnormal status of low-side arm.
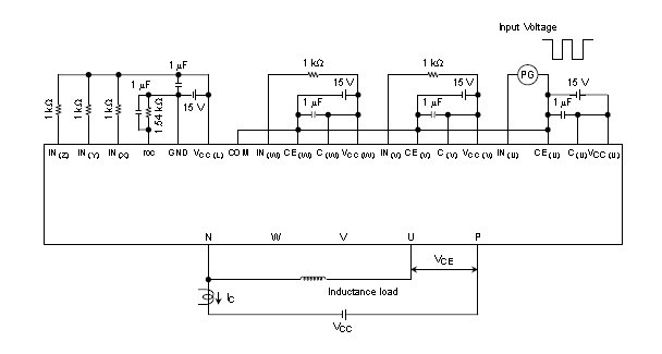
Diagrams

(Hong Kong)






